专利数据库
统计分析
产业报告
专利数据监控
产业人才
行业动态
产业政策法规
维权援助
个人中心
详情
文本
图像
标题
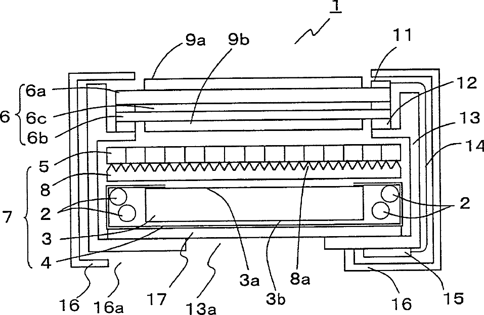
Backlight and liquid crystal display device
授权日
1900-01-01
公开(公告)号
US20020018341A1
申请日
2001-08-06
公开(公告)日
2002-02-14
当前申请(专利权)人
SHARP KABUSHIKI KAISHA
发明人
TORIHARA, HIROSHI | TAKAHASHI, NOBUYUKI | UKAI, KENICHI
简单同族
CN1170191C | CN1346068A | CN1530712A | EP1180641A1 | JP2002124112A | KR100394563B1 | KR1020020012524A | TWI288273B | US20020018341A1 | US6609807
简单同族成员数量
10
简单同族被引用专利总数
80
诉讼案件数
0
法律状态/事件
授权 | 权利转移
抱歉,您的浏览器不支持PDF预览,请点击链接下载PDF文件