专利数据库
统计分析
产业报告
专利数据监控
产业人才
行业动态
产业政策法规
维权援助
个人中心
详情
文本
图像
标题
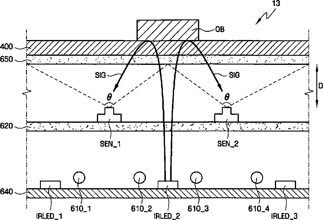
Liquid crystal display having first and second diffusion members and a plurality of sensors that can detect a sensing signal reflected from an object
授权日
2012-05-29
公开(公告)号
US8189128
申请日
2008-10-01
公开(公告)日
2012-05-29
当前申请(专利权)人
SAMSUNG DISPLAY CO., LTD.
发明人
TAKAHASHI, SEIKI | YOU, BONG-HYUN | CHOI, HEE-JIN | KIM, SANG-SOO | KIM, YONG-HWI
简单同族
CN101533170A | CN101533170B | EP2101251A2 | EP2101251A3 | JP2009223317A | JP2014130374A | KR101493840B1 | KR1020090098446A | US20090231497A1 | US8189128
简单同族成员数量
10
简单同族被引用专利总数
68
诉讼案件数
0
法律状态/事件
授权 | 权利转移
抱歉,您的浏览器不支持PDF预览,请点击链接下载PDF文件