专利数据库
统计分析
产业报告
专利数据监控
产业人才
行业动态
产业政策法规
维权援助
个人中心
详情
文本
图像
标题
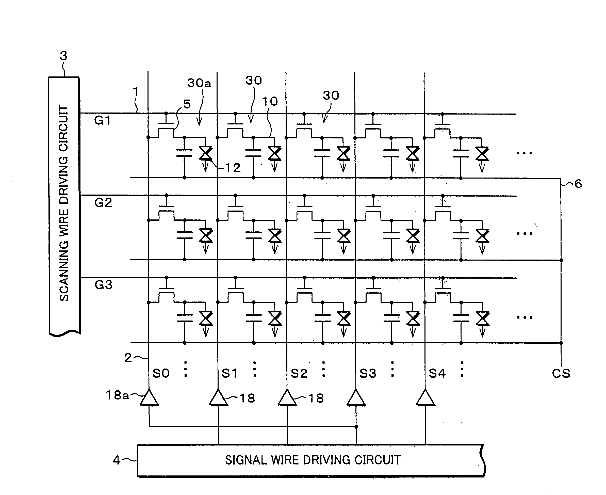
Liquid crystal display device
授权日
1900-01-01
公开(公告)号
US20100097305A1
申请日
2009-09-22
公开(公告)日
2010-04-22
当前申请(专利权)人
SHARP KABUSHIKI KAISHA
发明人
IWAMOTO, AKIHISA | MORII, HIDEKI | MIYAMOTO, KAZUSHIGE
简单同族
CN100582900C | CN1201195C | CN1423160A | CN1554977A | JP2003162265A | JP3730161B2 | KR100497052B1 | KR1020030043672A | TW200302369A | TW583443B | US20030098837A1 | US20100097305A1 | US7612750 | US8421724
简单同族成员数量
14
简单同族被引用专利总数
50
诉讼案件数
0
法律状态/事件
授权
抱歉,您的浏览器不支持PDF预览,请点击链接下载PDF文件