专利数据库
统计分析
产业报告
专利数据监控
产业人才
行业动态
产业政策法规
维权援助
个人中心
详情
文本
图像
标题
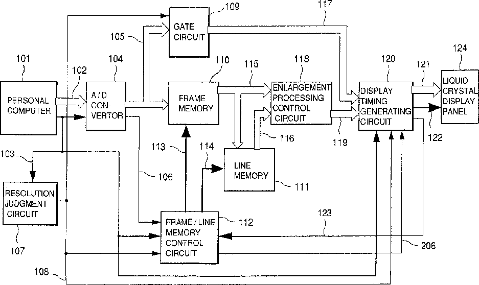
Liquid crystal display control device
授权日
1900-01-01
公开(公告)号
US20020027542A1
申请日
2001-08-14
公开(公告)日
2002-03-07
当前申请(专利权)人
HITACHI MAXELL, LTD.
发明人
FURUHASHI, TSUTOMU | MAEDA, TAKESHI | HIGA, ATSUHIRO | OHHARA, HISAYUKI | KURIHARA, HIROSHI | KASAI, NARUHIKO
简单同族
JP1997152848A | JP3713084B2 | KR100248441B1 | KR1019970029308A | SG55248A1 | TW350061B | US20020027542A1 | US20040027324A1 | US20060187174A1 | US20070164968A1 | US20100321423A1 | US5909205 | US6121947 | US6295045 | US6628260 | US7053877 | US7202848 | US7808469 | US8184084
简单同族成员数量
19
简单同族被引用专利总数
90
诉讼案件数
0
法律状态/事件
期限届满 | 权利转移
抱歉,您的浏览器不支持PDF预览,请点击链接下载PDF文件