专利数据库
统计分析
产业报告
专利数据监控
产业人才
行业动态
产业政策法规
维权援助
个人中心
详情
文本
图像
标题
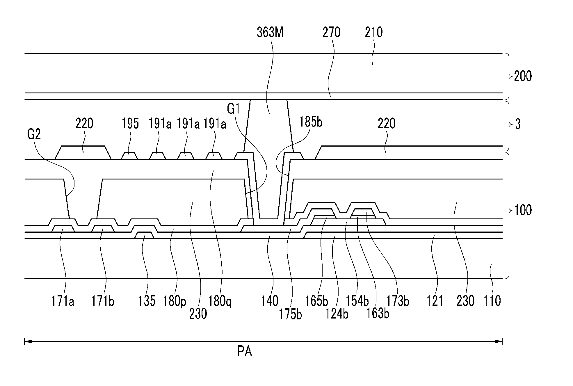
Liquid crystal display
授权日
1900-01-01
公开(公告)号
US20110122357A1
申请日
2010-05-28
公开(公告)日
2011-05-26
当前申请(专利权)人
SAMSUNG DISPLAY CO., LTD.
发明人
CHANG, SUN-YOUNG | HUH, CHUL | LEE, SANG-HUN | KIM, GWAN-SOO | LEE, YUI-KU
简单同族
CN102073171A | CN102073171B | JP2011113085A | JP5717371B2 | KR101607636B1 | KR1020110056961A | US20110122357A1 | US20150002775A1 | US8854579 | US9791748
简单同族成员数量
10
简单同族被引用专利总数
63
诉讼案件数
0
法律状态/事件
授权 | 权利转移
抱歉,您的浏览器不支持PDF预览,请点击链接下载PDF文件