专利数据库
统计分析
产业报告
专利数据监控
产业人才
行业动态
产业政策法规
维权援助
个人中心
详情
文本
图像
标题
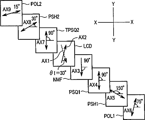
Liquid crystal display device with particular phase plates having specific axis angles
授权日
2007-05-22
公开(公告)号
US7221422
申请日
2006-09-15
公开(公告)日
2007-05-22
当前申请(专利权)人
PANASONIC LIQUID CRYSTAL DISPLAY CO., LTD.
发明人
FUKUDA, KOICHI | NAKAMURA, YOSHIAKI
简单同族
CN100399130C | CN1231801C | CN1527106A | CN1755445A | JP2004271786A | JP4308553B2 | US20040174478A1 | US20060007376A1 | US20070008454A1 | US20070171343A1 | US20090103028A1 | US6970218 | US7126659 | US7221422 | US7471361 | US7728932
简单同族成员数量
16
简单同族被引用专利总数
63
诉讼案件数
0
法律状态/事件
授权 | 权利转移
抱歉,您的浏览器不支持PDF预览,请点击链接下载PDF文件