专利数据库
统计分析
产业报告
专利数据监控
产业人才
行业动态
产业政策法规
维权援助
个人中心
详情
文本
图像
标题
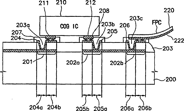
Liquid crystal display and method for manufacturing the same
授权日
2011-03-08
公开(公告)号
US7903222
申请日
2010-02-16
公开(公告)日
2011-03-08
当前申请(专利权)人
SAMSUNG DISPLAY CO., LTD
发明人
KIM, DONG-GYU
简单同族
CN1258114C | CN1368718A | JP2002244151A | JP5057617B2 | KR100737896B1 | KR1020020065785A | US20020105263A1 | US20060017873A1 | US20070024794A1 | US20070024795A1 | US20080266508A1 | US20100141888A1 | US6937314 | US7116391 | US7388641 | US7630047 | US7688415 | US7903222
简单同族成员数量
18
简单同族被引用专利总数
200
诉讼案件数
0
法律状态/事件
授权 | 权利转移
抱歉,您的浏览器不支持PDF预览,请点击链接下载PDF文件