专利数据库
统计分析
产业报告
专利数据监控
产业人才
行业动态
产业政策法规
维权援助
个人中心
详情
文本
图像
标题
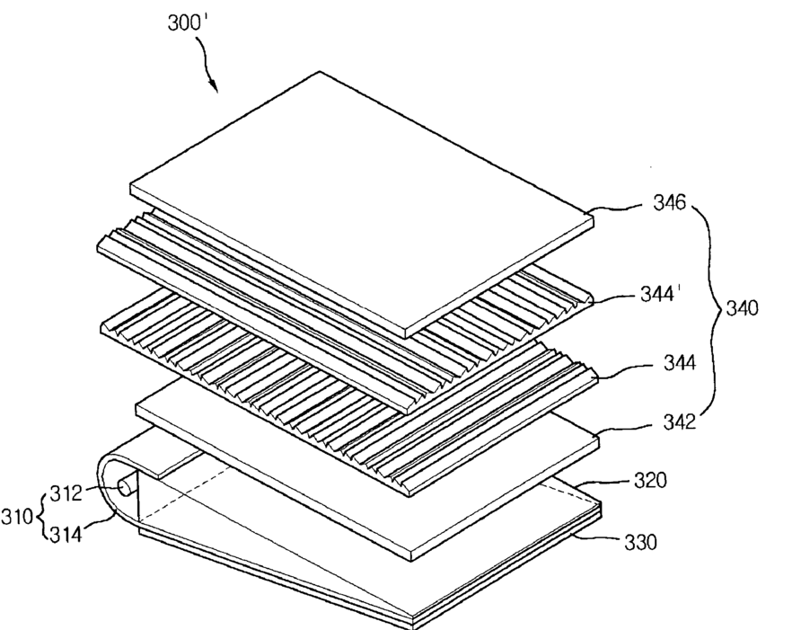
Backlight assembly of liquid crystal display
授权日
1900-01-01
公开(公告)号
US20050099822A1
申请日
2004-09-27
公开(公告)日
2005-05-12
当前申请(专利权)人
LG ELECTRONICS INC.
发明人
CHOI, YUN HO | KIM, CHANG JONG | KIM, YOUNG GUN | LEE, SANG GON | LEE, UNG SANG
简单同族
CN1617025A | JP2005148748A | JP2005148748A5 | KR100717499B1 | KR1020050045601A | TW200516323A | US20050099822A1 | US20060087743A1
简单同族成员数量
8
简单同族被引用专利总数
54
诉讼案件数
0
法律状态/事件
撤回 | 权利转移
抱歉,您的浏览器不支持PDF预览,请点击链接下载PDF文件