专利数据库
统计分析
产业报告
专利数据监控
产业人才
行业动态
产业政策法规
维权援助
个人中心
详情
文本
图像
标题
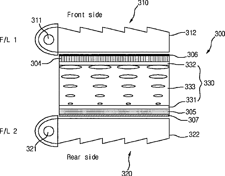
Liquid crystal display device using dual light units
授权日
2006-04-11
公开(公告)号
US7027113
申请日
2004-06-29
公开(公告)日
2006-04-11
当前申请(专利权)人
LG DISPLAY CO., LTD.
发明人
KIM, KYEONG JIN | KANG, HOON | JANG, MI KYOUNG
简单同族
CN100385309C | CN1584703A | GB0414121D0 | GB2405252A | GB2405252B | JP2005122103A | JP3962397B2 | KR100518408B1 | KR1020050020332A | TW200508739A | TWI237724B | US20050041176A1 | US7027113
简单同族成员数量
13
简单同族被引用专利总数
54
诉讼案件数
0
法律状态/事件
授权 | 权利转移
抱歉,您的浏览器不支持PDF预览,请点击链接下载PDF文件