专利数据库
统计分析
产业报告
专利数据监控
产业人才
行业动态
产业政策法规
维权援助
个人中心
详情
文本
图像
标题
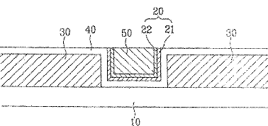
Substrate for liquid crystal display and method of fabricating the same
授权日
2009-03-10
公开(公告)号
US7502082
申请日
2006-11-20
公开(公告)日
2009-03-10
当前申请(专利权)人
SAMSUNG DISPLAY CO., LTD.
发明人
SONG, JANG-KUN
简单同族
JP2002244123A | JP4741103B2 | KR100686239B1 | KR1020020059956A | TWI247140B | US20020090494A1 | US20040263726A1 | US20070070269A1 | US6866917 | US7158196 | US7502082
简单同族成员数量
11
简单同族被引用专利总数
52
诉讼案件数
0
法律状态/事件
授权 | 权利转移
抱歉,您的浏览器不支持PDF预览,请点击链接下载PDF文件