专利数据库
统计分析
产业报告
专利数据监控
产业人才
行业动态
产业政策法规
维权援助
个人中心
详情
文本
图像
标题
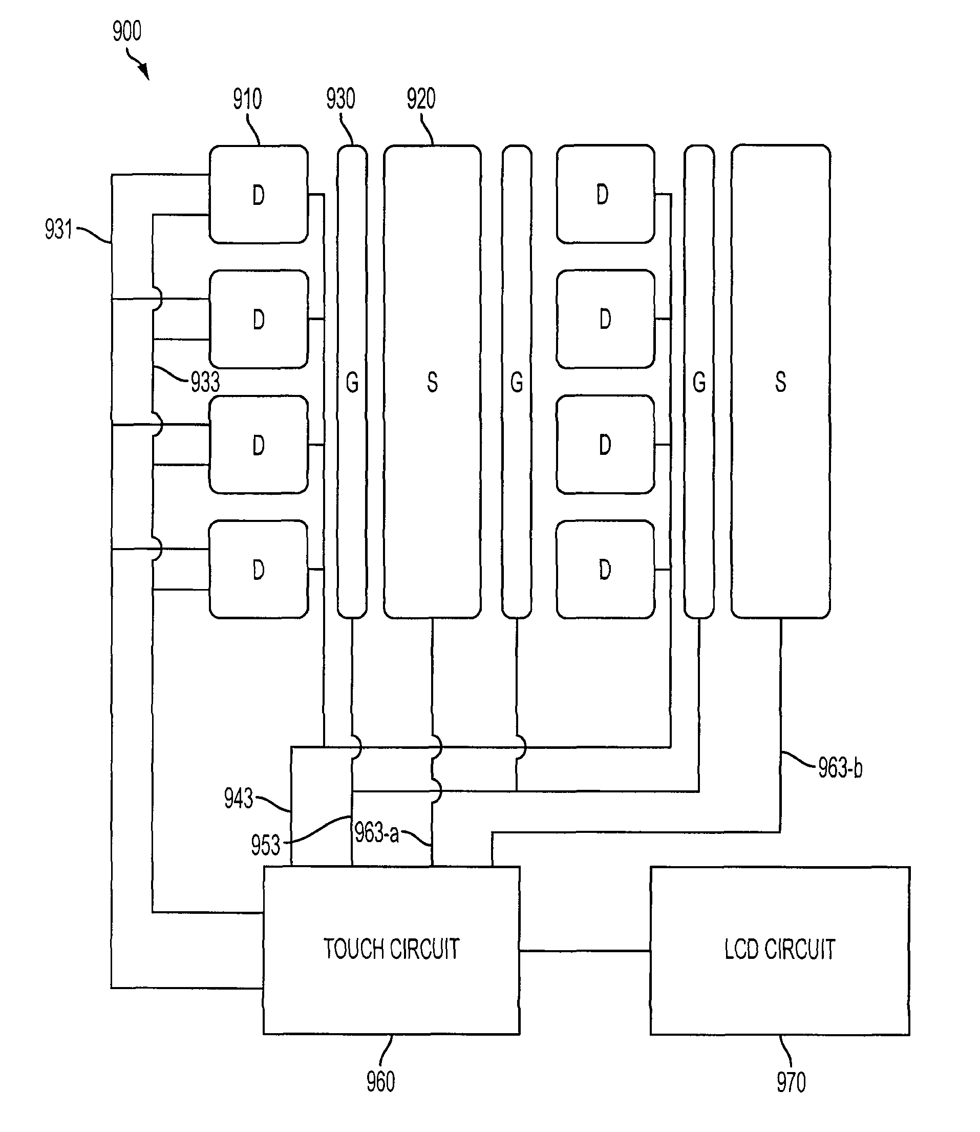
Switching circuitry for touch sensitive display
授权日
2014-12-30
公开(公告)号
US8922521
申请日
2009-08-21
公开(公告)日
2014-12-30
当前申请(专利权)人
APPLE INC.
发明人
HOTELLING, STEVEN PORTER | YOUSEFPOR, MARDUKE | CHANG, SHIH CHANG
简单同族
US20100194698A1 | US20150077375A1 | US8922521 | US9996175
简单同族成员数量
4
简单同族被引用专利总数
187
诉讼案件数
0
法律状态/事件
授权 | 权利转移
抱歉,您的浏览器不支持PDF预览,请点击链接下载PDF文件