专利数据库
统计分析
产业报告
专利数据监控
产业人才
行业动态
产业政策法规
维权援助
个人中心
详情
文本
图像
标题
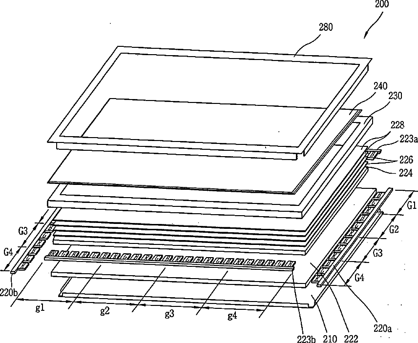
Liquid crystal display device
授权日
1900-01-01
公开(公告)号
US20090015755A1
申请日
2008-06-02
公开(公告)日
2009-01-15
当前申请(专利权)人
LG DISPLAY CO., LTD.
发明人
BANG, JU-YOUNG | CHUNG, IN-JAE
简单同族
KR101375851B1 | KR1020080105897A | US20090015755A1 | US7782421
简单同族成员数量
4
简单同族被引用专利总数
51
诉讼案件数
0
法律状态/事件
授权 | 权利转移
抱歉,您的浏览器不支持PDF预览,请点击链接下载PDF文件