专利数据库
统计分析
产业报告
专利数据监控
产业人才
行业动态
产业政策法规
维权援助
个人中心
详情
文本
图像
标题
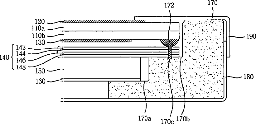
Backlight assembly for liquid crystal display and liquid crystal display module using the same
授权日
2008-10-28
公开(公告)号
US7443460
申请日
2006-06-30
公开(公告)日
2008-10-28
当前申请(专利权)人
LG DISPLAY CO., LTD.
发明人
PARK, JONG WAN
简单同族
CN100504546C | CN1967351A | KR101177909B1 | KR1020070052012A | US20070109461A1 | US7443460
简单同族成员数量
6
简单同族被引用专利总数
103
诉讼案件数
0
法律状态/事件
授权 | 权利转移
抱歉,您的浏览器不支持PDF预览,请点击链接下载PDF文件