专利数据库
统计分析
产业报告
专利数据监控
产业人才
行业动态
产业政策法规
维权援助
个人中心
详情
文本
图像
标题
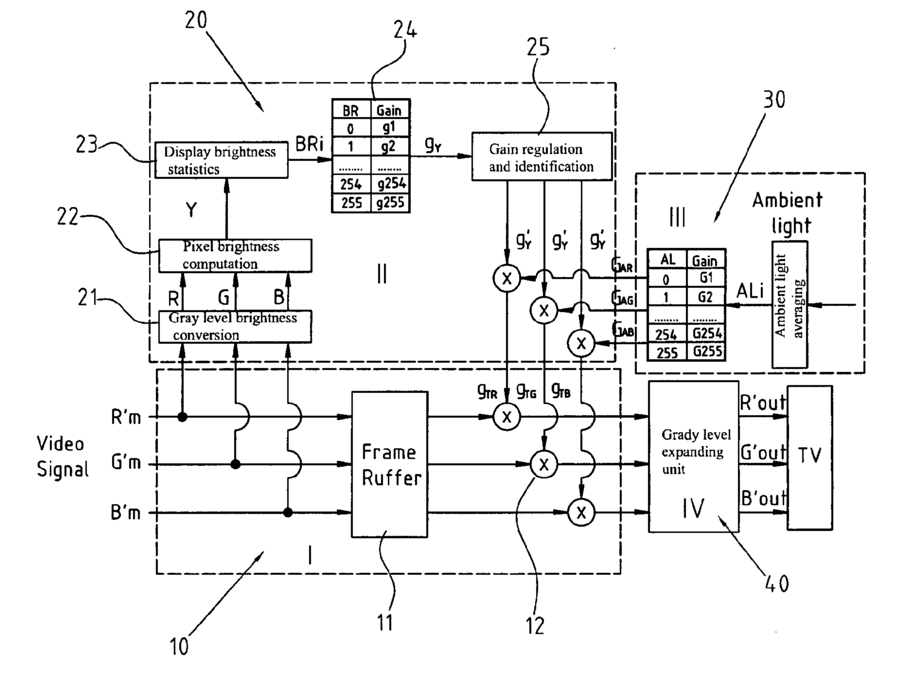
Method to automatically regulate brightness of liquid crystal displays
授权日
1900-01-01
公开(公告)号
US20070222730A1
申请日
2006-03-24
公开(公告)日
2007-09-27
当前申请(专利权)人
MARKETECH INTERNATIONAL CORP.
发明人
KAO, HSU-PIN | TSAI, TSAN-HUNG | SHAN, YI-CHIA | KAO, HSU-CHIA
简单同族
US20070222730A1 | US7564438
简单同族成员数量
2
简单同族被引用专利总数
124
诉讼案件数
0
法律状态/事件
未缴年费 | 权利转移
抱歉,您的浏览器不支持PDF预览,请点击链接下载PDF文件