专利数据库
统计分析
产业报告
专利数据监控
产业人才
行业动态
产业政策法规
维权援助
个人中心
详情
文本
图像
标题
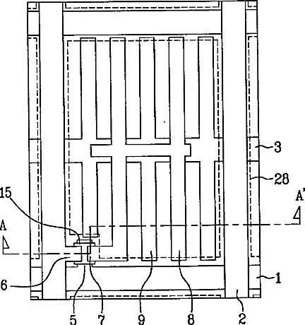
In-plane switching mode liquid crystal display device
授权日
1900-01-01
公开(公告)号
US20020097361A1
申请日
2002-03-29
公开(公告)日
2002-07-25
当前申请(专利权)人
LG DISPLAY CO., LTD.
发明人
HAM, YONG SUNG
简单同族
US20010000128A1 | US20020097361A1 | US6184961 | US6466291 | US6853429
简单同族成员数量
5
简单同族被引用专利总数
76
诉讼案件数
0
法律状态/事件
期限届满 | 权利转移
抱歉,您的浏览器不支持PDF预览,请点击链接下载PDF文件