专利数据库
统计分析
产业报告
专利数据监控
产业人才
行业动态
产业政策法规
维权援助
个人中心
详情
文本
图像
标题
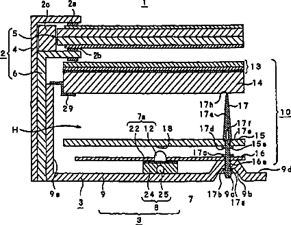
Backlight device and transmission type liquid crystal display apparatus
授权日
2010-02-23
公开(公告)号
US7667787
申请日
2005-08-05
公开(公告)日
2010-02-23
当前申请(专利权)人
SONY CORPORATION
发明人
MAHAMA, KAZUTOSHI | HATANAKA, MASATO
简单同族
CN100510896C | CN1930516A | DE602005025492D1 | EP1780461A1 | EP1780461A4 | EP1780461B1 | JP2006058481A | JP4590977B2 | KR101161451B1 | KR1020070042908A | TW200619773A | TWI317448B | US20080284942A1 | US7667787 | WO2006018996A1
简单同族成员数量
15
简单同族被引用专利总数
109
诉讼案件数
0
法律状态/事件
未缴年费 | 权利转移
抱歉,您的浏览器不支持PDF预览,请点击链接下载PDF文件