专利数据库
统计分析
产业报告
专利数据监控
产业人才
行业动态
产业政策法规
维权援助
个人中心
详情
文本
图像
标题
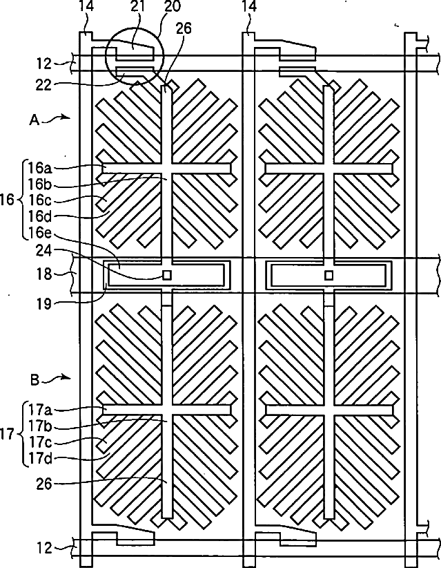
Liquid crystal display device
授权日
1900-01-01
公开(公告)号
US20070097279A1
申请日
2006-05-23
公开(公告)日
2007-05-03
当前申请(专利权)人
SHARP KABUSHIKI KAISHA
发明人
SUGIURA, NORIO
简单同族
JP2006330137A | JP4557800B2 | KR100809189B1 | KR1020060121720A | TW200707039A | TWI344572B | US20070097279A1
简单同族成员数量
7
简单同族被引用专利总数
51
诉讼案件数
0
法律状态/事件
撤回 | 权利转移
抱歉,您的浏览器不支持PDF预览,请点击链接下载PDF文件