专利数据库
统计分析
产业报告
专利数据监控
产业人才
行业动态
产业政策法规
维权援助
个人中心
详情
文本
图像
标题
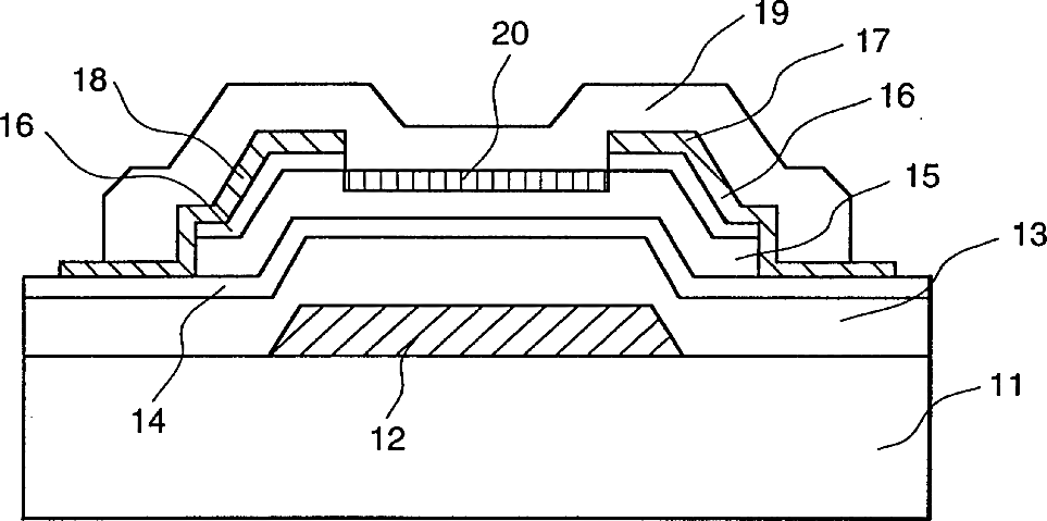
Active matrix type liquid crystal display apparatus with silicon oxide at different portions
授权日
2003-07-29
公开(公告)号
US6600524
申请日
2000-10-04
公开(公告)日
2003-07-29
当前申请(专利权)人
PANASONIC LIQUID CRYSTAL DISPLAY CO., LTD.
发明人
ANDO, MASAHIKO | WAKAGI, MASATOSHI
简单同族
JP2001109014A | KR100710120B1 | KR1020010040002A | TW562983B | US6600524
简单同族成员数量
5
简单同族被引用专利总数
66
诉讼案件数
0
法律状态/事件
授权 | 权利转移
抱歉,您的浏览器不支持PDF预览,请点击链接下载PDF文件