专利数据库
统计分析
产业报告
专利数据监控
产业人才
行业动态
产业政策法规
维权援助
个人中心
详情
文本
图像
标题
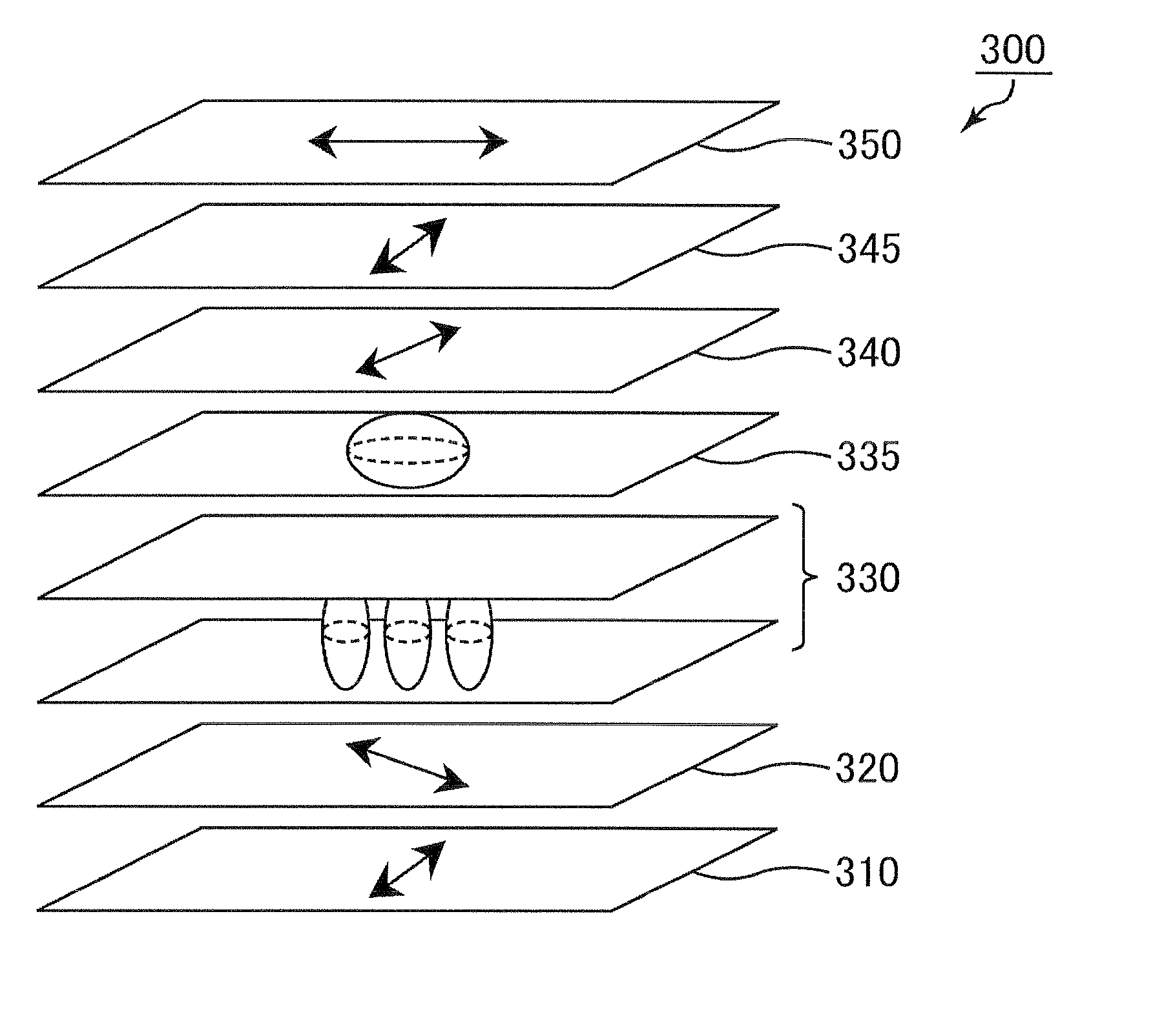
Liquid crystal display device with quarter plates and birefringent layers and liquid crystal having substantially vertical alignments in black state
授权日
2012-06-05
公开(公告)号
US8194212
申请日
2009-10-09
公开(公告)日
2012-06-05
当前申请(专利权)人
SHARP KABUSHIKI KAISHA
发明人
SAKAI, AKIRA
简单同族
BRPI0923744A2 | CN102246091A | CN102246091B | EP2383604A1 | EP2383604A4 | EP2383604B1 | JP2010256900A | JP4669909B2 | JP5248546B2 | JPWO2010087058A1 | RU2011117146A | RU2445664C1 | RU2460107C1 | US20110025966A1 | US20110181814A1 | US20120188492A1 | US8194212 | US8314908 | US8416377 | WO2010087058A1
简单同族成员数量
20
简单同族被引用专利总数
57
诉讼案件数
0
法律状态/事件
授权 | 权利转移
抱歉,您的浏览器不支持PDF预览,请点击链接下载PDF文件