专利数据库
统计分析
产业报告
专利数据监控
产业人才
行业动态
产业政策法规
维权援助
个人中心
详情
文本
图像
标题
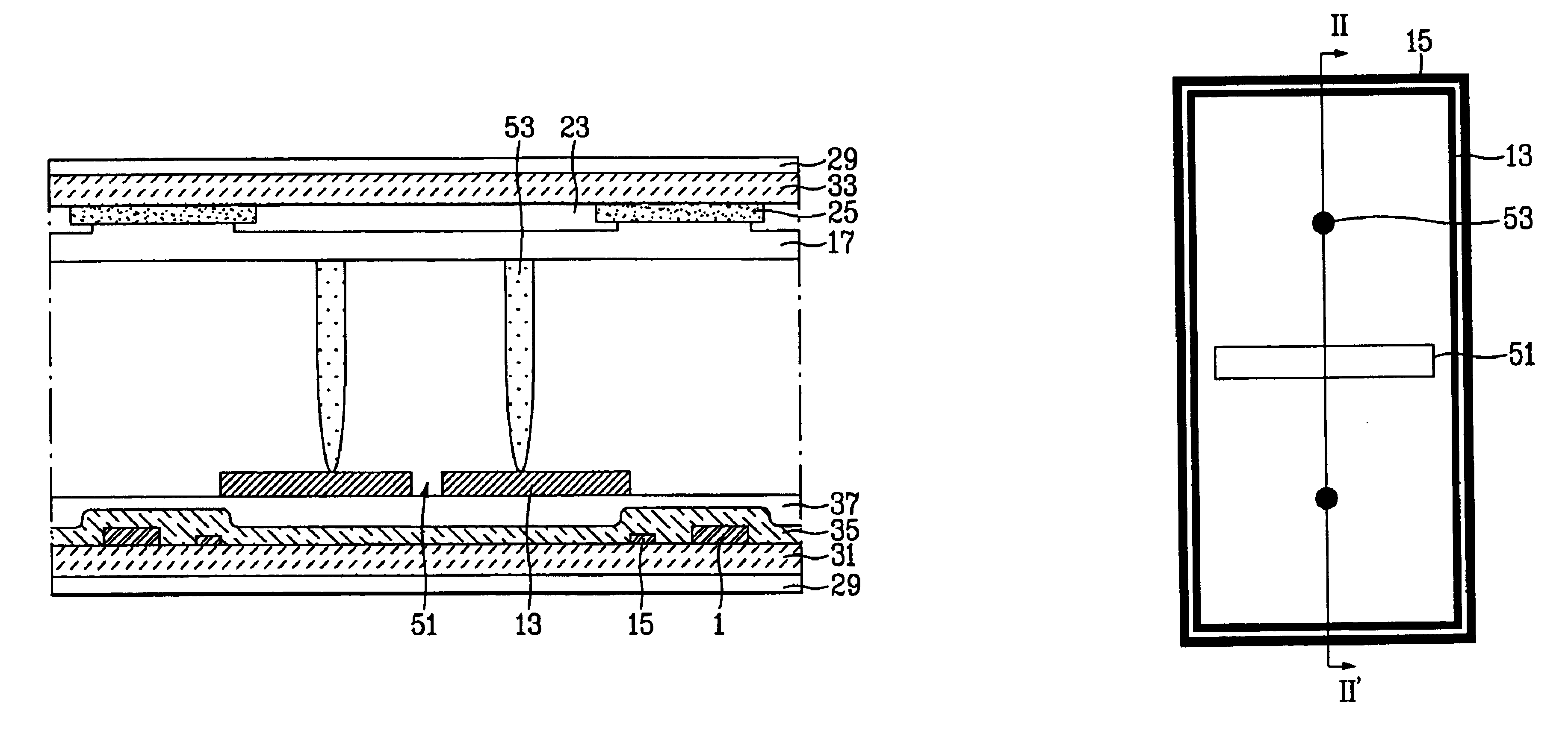
Multi-domain liquid crystal display device
授权日
2004-08-10
公开(公告)号
US6774967
申请日
2001-01-12
公开(公告)日
2004-08-10
当前申请(专利权)人
LG DISPLAY CO., LTD.
发明人
KIM, KYEONG JIN | LEE, YUN BOK
简单同族
DE10101251A1 | DE10101251B4 | FR2803680A1 | FR2803680B1 | GB0100788D0 | GB2362021A | GB2362021B | JP2001242466A | JP4698031B2 | KR100587364B1 | KR1020010069132A | US20010022643A1 | US6774967
简单同族成员数量
13
简单同族被引用专利总数
95
诉讼案件数
0
法律状态/事件
未缴年费 | 权利转移
抱歉,您的浏览器不支持PDF预览,请点击链接下载PDF文件