专利数据库
统计分析
产业报告
专利数据监控
产业人才
行业动态
产业政策法规
维权援助
个人中心
详情
文本
图像
标题
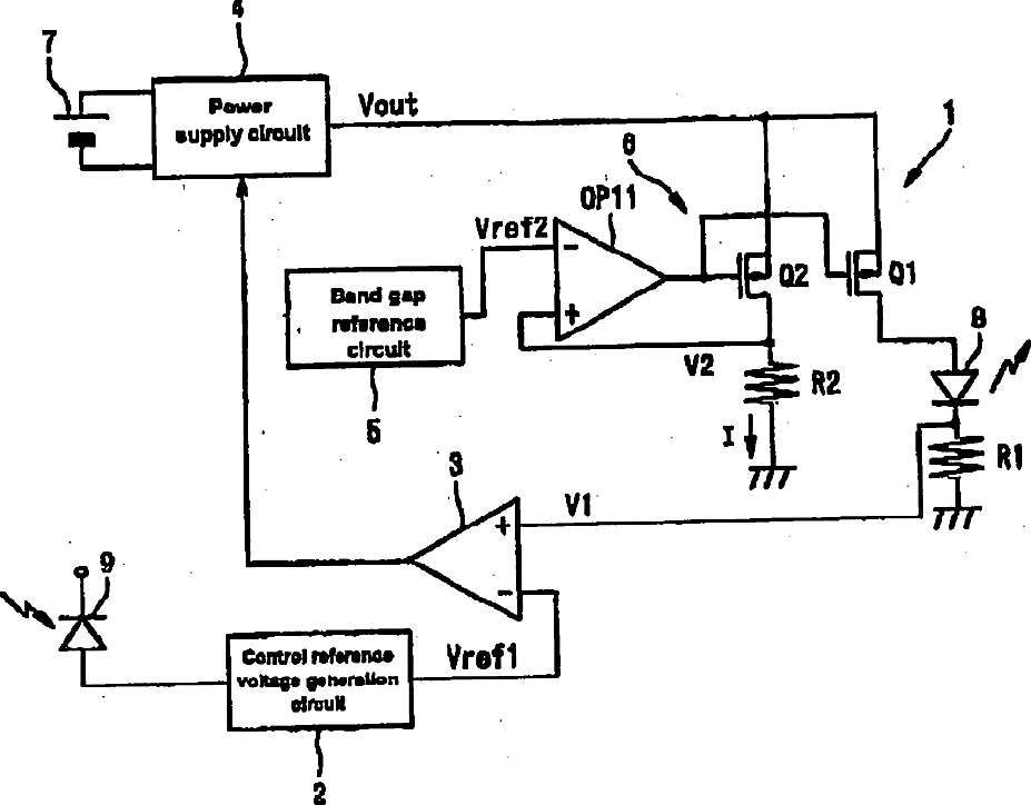
Backlight control device for liquid crystal display
授权日
1900-01-01
公开(公告)号
US20030169226A1
申请日
2003-01-22
公开(公告)日
2003-09-11
当前申请(专利权)人
SEIKO EPSON CORPORATION
发明人
YAMADA, ATSUSHI
简单同族
JP2003215534A | JP3685134B2 | US20030169226A1 | US7002547
简单同族成员数量
4
简单同族被引用专利总数
195
诉讼案件数
0
法律状态/事件
未缴年费 | 权利转移
抱歉,您的浏览器不支持PDF预览,请点击链接下载PDF文件