专利数据库
统计分析
产业报告
专利数据监控
产业人才
行业动态
产业政策法规
维权援助
个人中心
详情
文本
图像
标题
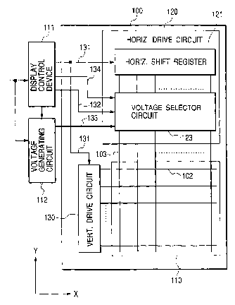
Liquid crystal display device having a gray-scale voltage selector circuit
授权日
2004-09-14
公开(公告)号
US6791521
申请日
2002-03-01
公开(公告)日
2004-09-14
当前申请(专利权)人
PANASONIC LIQUID CRYSTAL DISPLAY CO., LTD.
发明人
ISAMI, HIRONOBU | TAKEMOTO, IWAO | MIYAZAWA, TOSHIO | MATSUMOTO, KATSUMI
简单同族
CN1238830C | CN1383127A | EP1239445A2 | EP1239445A3 | JP2002258810A | KR100478170B1 | KR1020020071457A | TW544644B | US20020158828A1 | US20050024312A1 | US6791521 | US7164403
简单同族成员数量
12
简单同族被引用专利总数
86
诉讼案件数
0
法律状态/事件
授权 | 权利转移
抱歉,您的浏览器不支持PDF预览,请点击链接下载PDF文件