专利数据库
统计分析
产业报告
专利数据监控
产业人才
行业动态
产业政策法规
维权援助
个人中心
详情
文本
图像
标题
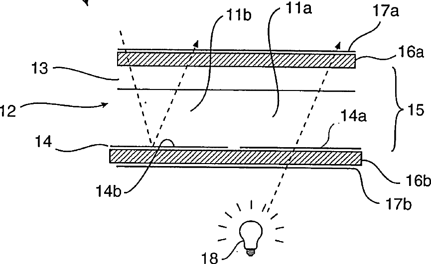
Arrangements in a transflective liquid crystal display
授权日
1900-01-01
公开(公告)号
US20040174479A1
申请日
2004-03-12
公开(公告)日
2004-09-09
当前申请(专利权)人
SUMITOMO CHEMICAL CO., LTD.
发明人
ROOSENDAAL, SANDER JURGEN | VAN HAAREN, JOHANNES ALBERTUS MATTHIJS MARIA
简单同族
AT370439T | CN100397177C | CN1549950A | DE60221888D1 | DE60221888T2 | EP1449024A2 | EP1449024B1 | JP2005501293A | JP2009244895A | JP2009244896A | JP2009244897A | JP4456655B2 | JP4526590B2 | JP4526591B2 | KR100895155B1 | KR1020040029040A | US20030043323A1 | US20040174479A1 | US20040174480A1 | US6731360 | US7339643 | US7515232 | WO2003019276A2 | WO2003019276A3
简单同族成员数量
24
简单同族被引用专利总数
89
诉讼案件数
0
法律状态/事件
授权 | 权利转移
抱歉,您的浏览器不支持PDF预览,请点击链接下载PDF文件