专利数据库
统计分析
产业报告
专利数据监控
产业人才
行业动态
产业政策法规
维权援助
个人中心
详情
文本
图像
标题
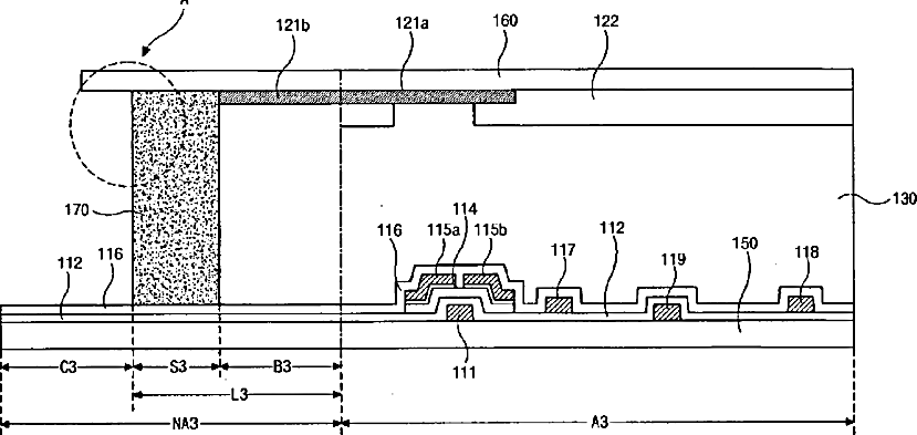
Liquid crystal display device having black seal pattern and external resin pattern, and method of fabricating the same
授权日
2006-05-23
公开(公告)号
US7050131
申请日
2003-04-07
公开(公告)日
2006-05-23
当前申请(专利权)人
LG DISPLAY CO., LTD.
发明人
CHOI, KEE-SEOK | YUN, JOO-YEON
简单同族
US20040075801A1 | US7050131
简单同族成员数量
2
简单同族被引用专利总数
56
诉讼案件数
0
法律状态/事件
授权 | 权利转移
抱歉,您的浏览器不支持PDF预览,请点击链接下载PDF文件