专利数据库
统计分析
产业报告
专利数据监控
产业人才
行业动态
产业政策法规
维权援助
个人中心
详情
文本
图像
标题
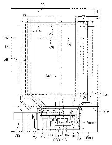
Liquid crystal display device
授权日
2005-04-19
公开(公告)号
US6882397
申请日
2003-07-18
公开(公告)日
2005-04-19
当前申请(专利权)人
PANASONIC LIQUID CRYSTAL DISPLAY CO., LTD.
发明人
HAYATA, HIROKO | ISHIGE, NOBUYUKI | KOMENO, HITOSHI
简单同族
CN1237385C | CN1482508A | CN1782788A | CN1782788B | JP2004101863A | JP2004101863A5 | JP4006304B2 | US20040046920A1 | US20050157243A1 | US20070252830A1 | US6882397 | US7251009 | US7916261
简单同族成员数量
13
简单同族被引用专利总数
141
诉讼案件数
0
法律状态/事件
授权 | 权利转移
抱歉,您的浏览器不支持PDF预览,请点击链接下载PDF文件