专利数据库
统计分析
产业报告
专利数据监控
产业人才
行业动态
产业政策法规
维权援助
个人中心
详情
文本
图像
标题
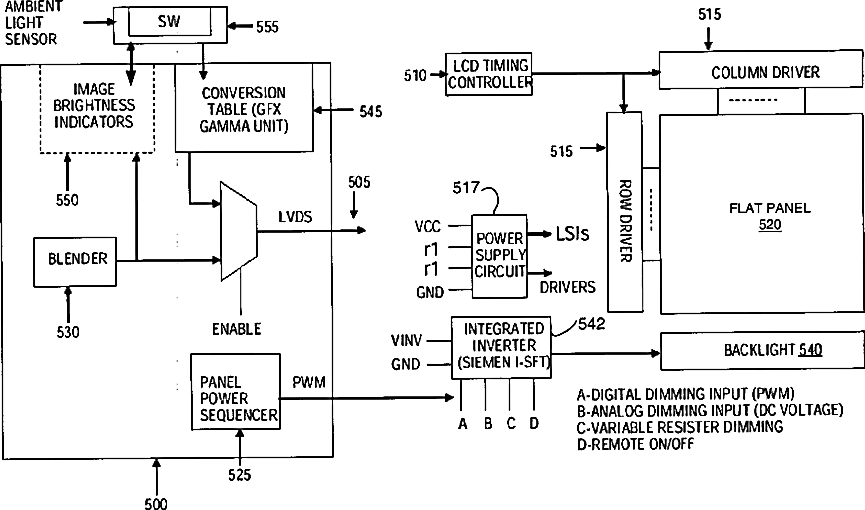
Real-time dynamic design of liquid crystal display (LCD) panel power management through brightness control
授权日
1900-01-01
公开(公告)号
US20040160435A1
申请日
2003-02-14
公开(公告)日
2004-08-19
当前申请(专利权)人
INTEL CORPORATION
发明人
CUI, YING | JENSEN, RICHARD W. | WYATT, DAVID | KUCHIBHOTLA, VENU M. | SADHASIVAN, SATHYAMURTHI | WITTER, TODD M.
简单同族
CN100483500C | CN1521723A | EP1593111A2 | JP2006517303A | JP2006517303A5 | JP4732171B2 | KR100866424B1 | KR1020050097546A | TW200416648A | TWI270838B | US20040160435A1 | US7348957 | WO2004075155A2 | WO2004075155A3
简单同族成员数量
14
简单同族被引用专利总数
160
诉讼案件数
0
法律状态/事件
授权 | 权利转移
抱歉,您的浏览器不支持PDF预览,请点击链接下载PDF文件