专利数据库
统计分析
产业报告
专利数据监控
产业人才
行业动态
产业政策法规
维权援助
个人中心
详情
文本
图像
标题
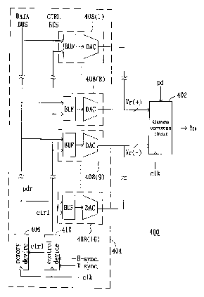
Apparatus and method for gamma correction in a liquid crystal display
授权日
2004-12-28
公开(公告)号
US6836232
申请日
2002-12-31
公开(公告)日
2004-12-28
当前申请(专利权)人
HIMAX TECHNOLOGIES
发明人
BU, LIN-KAI
简单同族
US20030122757A1 | US6836232
简单同族成员数量
2
简单同族被引用专利总数
65
诉讼案件数
0
法律状态/事件
未缴年费 | 权利转移
抱歉,您的浏览器不支持PDF预览,请点击链接下载PDF文件