专利数据库
统计分析
产业报告
专利数据监控
产业人才
行业动态
产业政策法规
维权援助
个人中心
详情
文本
图像
标题
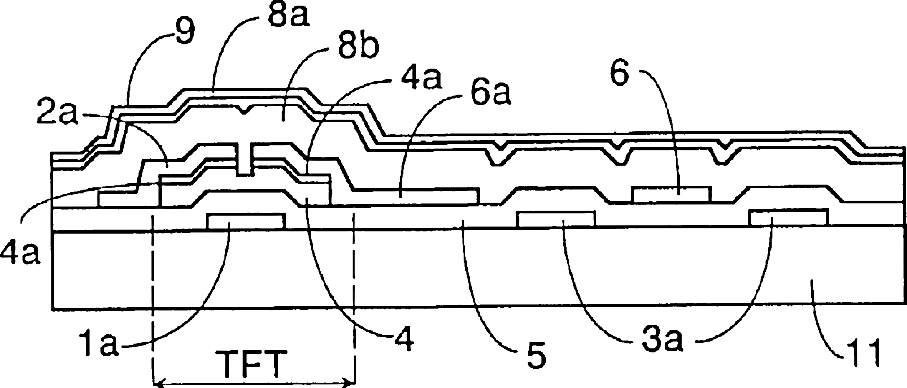
Liquid crystal display device and manufacturing method thereof
授权日
2005-05-31
公开(公告)号
US6900853
申请日
2002-10-22
公开(公告)日
2005-05-31
当前申请(专利权)人
PANASONIC LIQUID CRYSTAL DISPLAY CO., LTD.
发明人
WATANABE, KUNIHIKO | UKISU, MASAHIRO | ARIYOSHI, TOMOYUKI | NAKATANI, MITSUO | SUZUKI, MASAHIKO | KURIYAMA, HIDEKI | ASHIZAWA, KEIICHIRO
简单同族
JP2003131245A | JP3918496B2 | US20030086041A1 | US20050200786A1 | US6900853
简单同族成员数量
5
简单同族被引用专利总数
68
诉讼案件数
0
法律状态/事件
授权 | 权利转移
抱歉,您的浏览器不支持PDF预览,请点击链接下载PDF文件