专利数据库
统计分析
产业报告
专利数据监控
产业人才
行业动态
产业政策法规
维权援助
个人中心
详情
文本
图像
标题
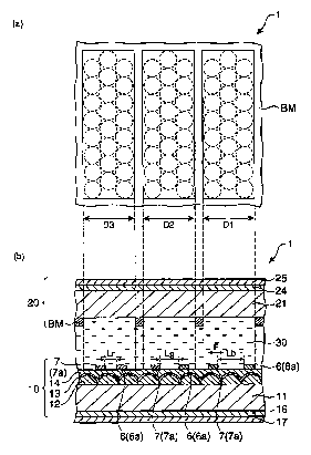
Liquid crystal display device and electronic apparatus
授权日
2010-11-30
公开(公告)号
US7843540
申请日
2006-01-17
公开(公告)日
2010-11-30
当前申请(专利权)人
SEIKO EPSON CORPORATION
发明人
OZAWA, KINYA | SHIMAMURA, HIDEO
简单同族
CN100451750C | CN1828373A | JP2006243036A | JP4476137B2 | KR100736349B1 | KR1020060095467A | TW200638136A | US20060203169A1 | US7843540
简单同族成员数量
9
简单同族被引用专利总数
114
诉讼案件数
0
法律状态/事件
未缴年费 | 权利转移
抱歉,您的浏览器不支持PDF预览,请点击链接下载PDF文件