专利数据库
统计分析
产业报告
专利数据监控
产业人才
行业动态
产业政策法规
维权援助
个人中心
详情
文本
图像
标题
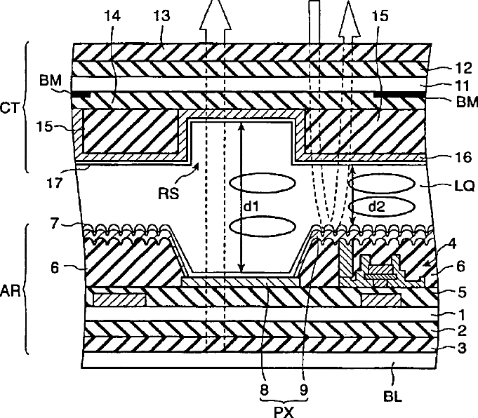
Liquid crystal display device
授权日
2005-09-20
公开(公告)号
US6947110
申请日
2003-08-13
公开(公告)日
2005-09-20
当前申请(专利权)人
KABUSHIKI KAISHA TOSHIBA
发明人
MORIMOTO, HIROKAZU | KURAUCHI, SHOICHI
简单同族
JP2004109629A | JP4057871B2 | KR1020040025626A | TW200405085A | TW594182B | US20040066477A1 | US6947110
简单同族成员数量
7
简单同族被引用专利总数
162
诉讼案件数
0
法律状态/事件
未缴年费 | 权利转移
抱歉,您的浏览器不支持PDF预览,请点击链接下载PDF文件