专利数据库
统计分析
产业报告
专利数据监控
产业人才
行业动态
产业政策法规
维权援助
个人中心
详情
文本
图像
标题
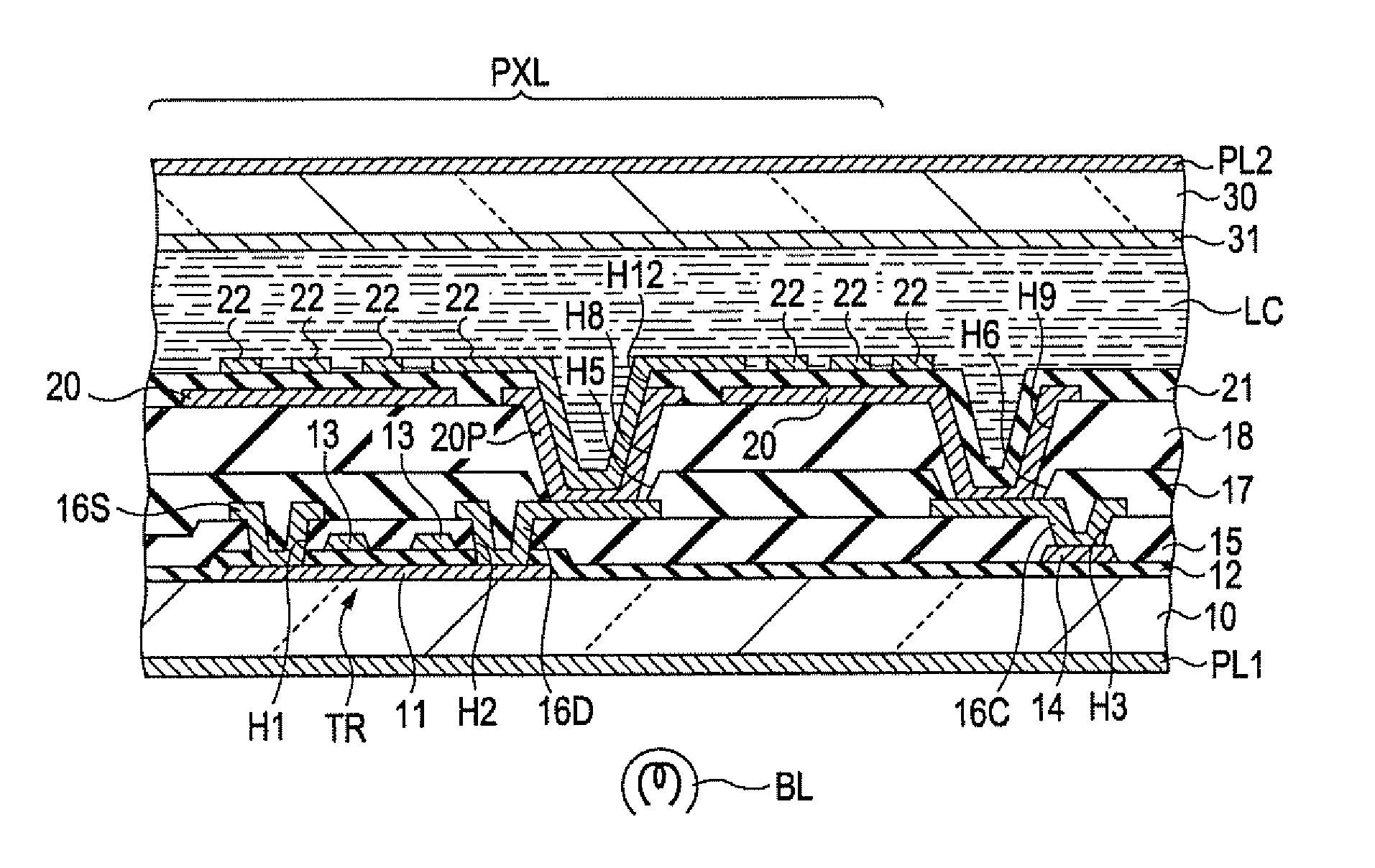
Liquid crystal display device and method of manufacturing the liquid crystal display device
授权日
1900-01-01
公开(公告)号
US20090027579A1
申请日
2008-07-08
公开(公告)日
2009-01-29
当前申请(专利权)人
JAPAN DISPLAY WEST INC.
发明人
AOTA, MASAAKI | ISHIDA, SATOSHI
简单同族
CN101354513A | CN101354513B | DE602008000697D1 | EP2023194A1 | EP2023194B1 | JP2009031468A | JP4487318B2 | KR100981485B1 | KR1020090012131A | TW200916927A | TWI368096B | US20090027579A1 | US7952671
简单同族成员数量
13
简单同族被引用专利总数
98
诉讼案件数
0
法律状态/事件
授权 | 权利转移
抱歉,您的浏览器不支持PDF预览,请点击链接下载PDF文件