专利数据库
统计分析
产业报告
专利数据监控
产业人才
行业动态
产业政策法规
维权援助
个人中心
详情
文本
图像
标题
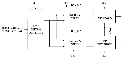
Hybrid backlight driving apparatus for liquid crystal display
授权日
2010-09-28
公开(公告)号
US7804480
申请日
2006-06-12
公开(公告)日
2010-09-28
当前申请(专利权)人
LG DISPLAY CO., LTD.
发明人
JEON, JIN HWAN | JANG, HOON
简单同族
CN100520898C | CN1991961A | JP2007178985A | JP4634971B2 | KR101243402B1 | KR1020070068804A | US20070146565A1 | US7804480
简单同族成员数量
8
简单同族被引用专利总数
110
诉讼案件数
0
法律状态/事件
授权 | 权利转移
抱歉,您的浏览器不支持PDF预览,请点击链接下载PDF文件