专利数据库
统计分析
产业报告
专利数据监控
产业人才
行业动态
产业政策法规
维权援助
个人中心
详情
文本
图像
标题
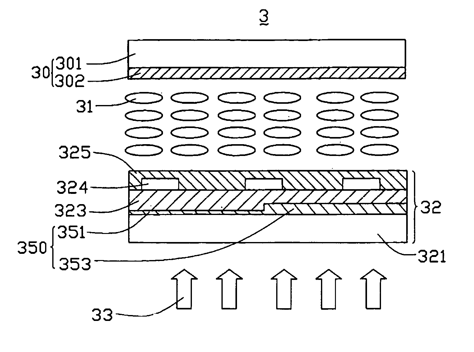
Transflective fringe field switching liquid crystal display
授权日
1900-01-01
公开(公告)号
US20050128390A1
申请日
2004-11-24
公开(公告)日
2005-06-16
当前申请(专利权)人
INNOLUX CORPORATION
发明人
YANG, CHIU-LIEN
简单同族
CN100376932C | CN1627134A | US20050128390A1
简单同族成员数量
3
简单同族被引用专利总数
79
诉讼案件数
0
法律状态/事件
撤回 | 权利转移
抱歉,您的浏览器不支持PDF预览,请点击链接下载PDF文件