专利数据库
统计分析
产业报告
专利数据监控
产业人才
行业动态
产业政策法规
维权援助
个人中心
详情
文本
图像
标题
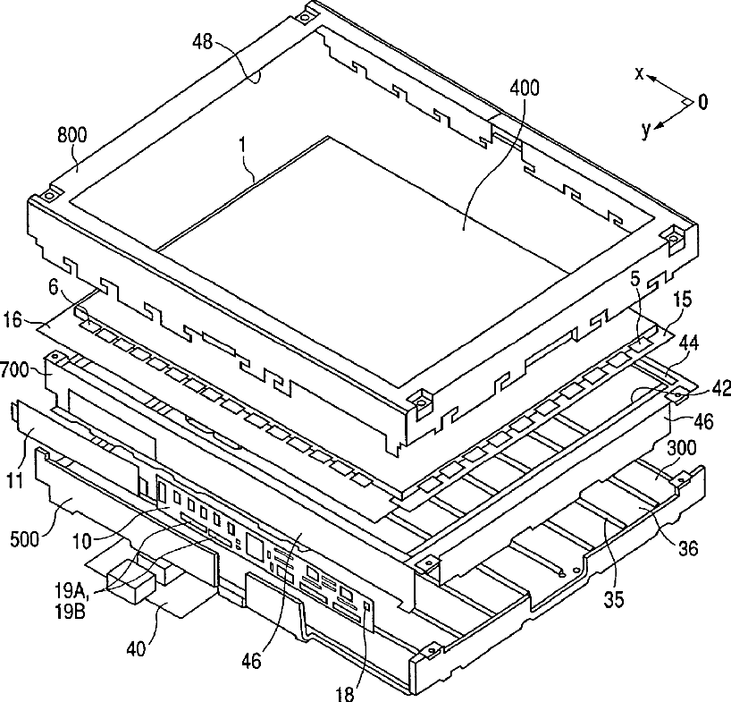
Liquid crystal display device having an improved backlight
授权日
1900-01-01
公开(公告)号
US20010050735A1
申请日
2001-05-17
公开(公告)日
2001-12-13
当前申请(专利权)人
PANASONIC LIQUID CRYSTAL DISPLAY CO., LTD. | HITACHI DISPLAYS, LTD.
发明人
YAJIMA, TOSHIHIRO | NISHIYAMA, SEIICHI | TAKAKU, SHIGETAKE | TAKEDA, YOSHIHARU | MIKOSHIBA, SHIGEO | SHIGA, TOMOKAZU | HASHIMOTO, KOJI | BABA, YUSUKE
简单同族
KR100418490B1 | KR1020010105190A | TWI301908B | US20010050735A1 | US20050280625A1 | US20070182702A1 | US20090174644A1 | US6956556 | US7218308 | US7518594 | US7990361
简单同族成员数量
11
简单同族被引用专利总数
50
诉讼案件数
0
法律状态/事件
未缴年费 | 权利转移
抱歉,您的浏览器不支持PDF预览,请点击链接下载PDF文件