专利数据库
统计分析
产业报告
专利数据监控
产业人才
行业动态
产业政策法规
维权援助
个人中心
详情
文本
图像
标题
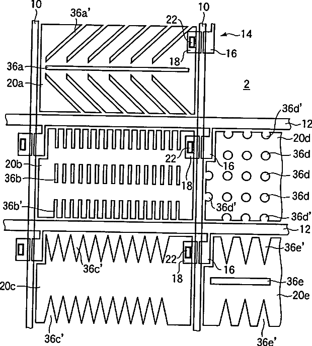
Substrate for liquid crystal display and liquid crystal display having the same
授权日
1900-01-01
公开(公告)号
US20060192911A1
申请日
2006-01-03
公开(公告)日
2006-08-31
当前申请(专利权)人
SHARP KABUSHIKI KAISHA
发明人
OHMURO, KATSUFUMI | SUGIURA, NORIO | TASHIRO, KUNIHIRO | KOIKE, YOSHIO
简单同族
JP2003202594A | JP2003202594A5 | JP3895600B2 | KR100790220B1 | KR1020030060075A | TW200301838A | TWI227805B | US20030128317A1 | US20060192911A1 | US7027116 | US7609345
简单同族成员数量
11
简单同族被引用专利总数
72
诉讼案件数
0
法律状态/事件
授权
抱歉,您的浏览器不支持PDF预览,请点击链接下载PDF文件