专利数据库
统计分析
产业报告
专利数据监控
产业人才
行业动态
产业政策法规
维权援助
个人中心
详情
文本
图像
标题
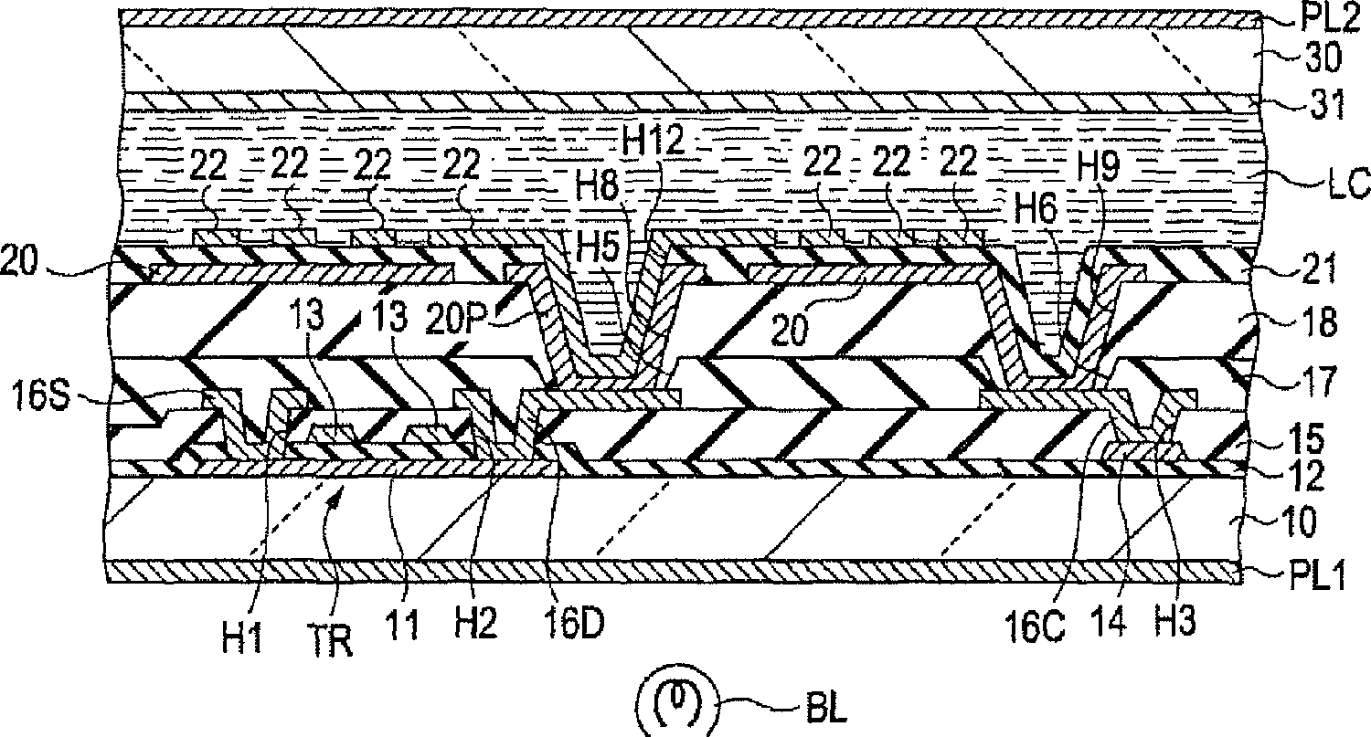
Liquid crystal display device having etching stopper electrode and method of manufacturing the liquid crystal display device
授权日
2011-05-31
公开(公告)号
US7952671
申请日
2008-07-08
公开(公告)日
2011-05-31
当前申请(专利权)人
JAPAN DISPLAY WEST INC.
发明人
AOTA, MASAAKI | ISHIDA, SATOSHI
简单同族
CN101354513A | CN101354513B | DE602008000697D1 | EP2023194A1 | EP2023194B1 | JP2009031468A | JP4487318B2 | KR100981485B1 | KR1020090012131A | TW200916927A | TWI368096B | US20090027579A1 | US7952671
简单同族成员数量
13
简单同族被引用专利总数
98
诉讼案件数
0
法律状态/事件
授权 | 权利转移
抱歉,您的浏览器不支持PDF预览,请点击链接下载PDF文件