专利数据库
统计分析
产业报告
专利数据监控
产业人才
行业动态
产业政策法规
维权援助
个人中心
详情
文本
图像
标题
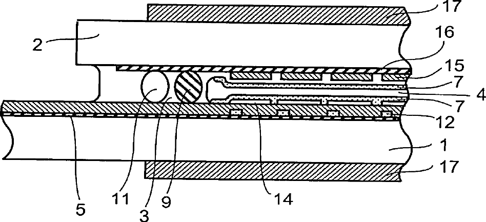
Liquid crystal display panel using sealing adhesive containing conductive particles
授权日
2002-10-15
公开(公告)号
US6466294
申请日
2000-01-06
公开(公告)日
2002-10-15
当前申请(专利权)人
TOSHIBA MATSUSHITA DISPLAY TECHNOLOGY CO., LTD.
发明人
YAMAGISHI, NOBUYASU | YAMAMOTO, EIJI
简单同族
CN1266199A | JP2000199915A | KR100525226B1 | KR1020000053387A | US6466294
简单同族成员数量
5
简单同族被引用专利总数
163
诉讼案件数
0
法律状态/事件
未缴年费 | 权利转移
抱歉,您的浏览器不支持PDF预览,请点击链接下载PDF文件