专利数据库
统计分析
产业报告
专利数据监控
产业人才
行业动态
产业政策法规
维权援助
个人中心
详情
文本
图像
标题
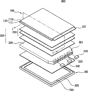
Backlight assembly and liquid crystal display apparatus comprising a light guide plate having light source receiving recess and light guiding recess
授权日
2006-11-21
公开(公告)号
US7139048
申请日
2004-05-12
公开(公告)日
2006-11-21
当前申请(专利权)人
SAMSUNG DISPLAY CO., LTD.
发明人
HAN, BYUNG-WOONG | KIM, KYU-SEOK | CHU, YOUNG-BEE
简单同族
CN1577005A | CN1577005B | JP2005026222A | KR100989338B1 | KR1020050005353A | TW200508737A | US20050001952A1 | US7139048
简单同族成员数量
8
简单同族被引用专利总数
159
诉讼案件数
0
法律状态/事件
未缴年费 | 权利转移
抱歉,您的浏览器不支持PDF预览,请点击链接下载PDF文件