专利数据库
统计分析
产业报告
专利数据监控
产业人才
行业动态
产业政策法规
维权援助
个人中心
详情
文本
图像
标题
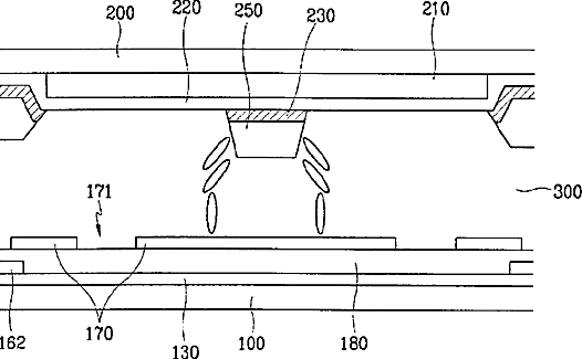
Liquid crystal display and substrate thereof
授权日
2010-09-21
公开(公告)号
US7800725
申请日
2001-05-11
公开(公告)日
2010-09-21
当前申请(专利权)人
SAMSUNG DISPLAY CO., LTD.
发明人
NA, BYOUNG-SUN | YOON, JONG-SOO
简单同族
JP2002014349A | JP2011081427A | JP5371163B2 | JP5419904B2 | KR100612994B1 | KR1020010104067A | US20010040656A1 | US20080192198A1 | US7714960 | US7800725
简单同族成员数量
10
简单同族被引用专利总数
79
诉讼案件数
0
法律状态/事件
授权 | 权利转移
抱歉,您的浏览器不支持PDF预览,请点击链接下载PDF文件