专利数据库
统计分析
产业报告
专利数据监控
产业人才
行业动态
产业政策法规
维权援助
个人中心
详情
文本
图像
标题
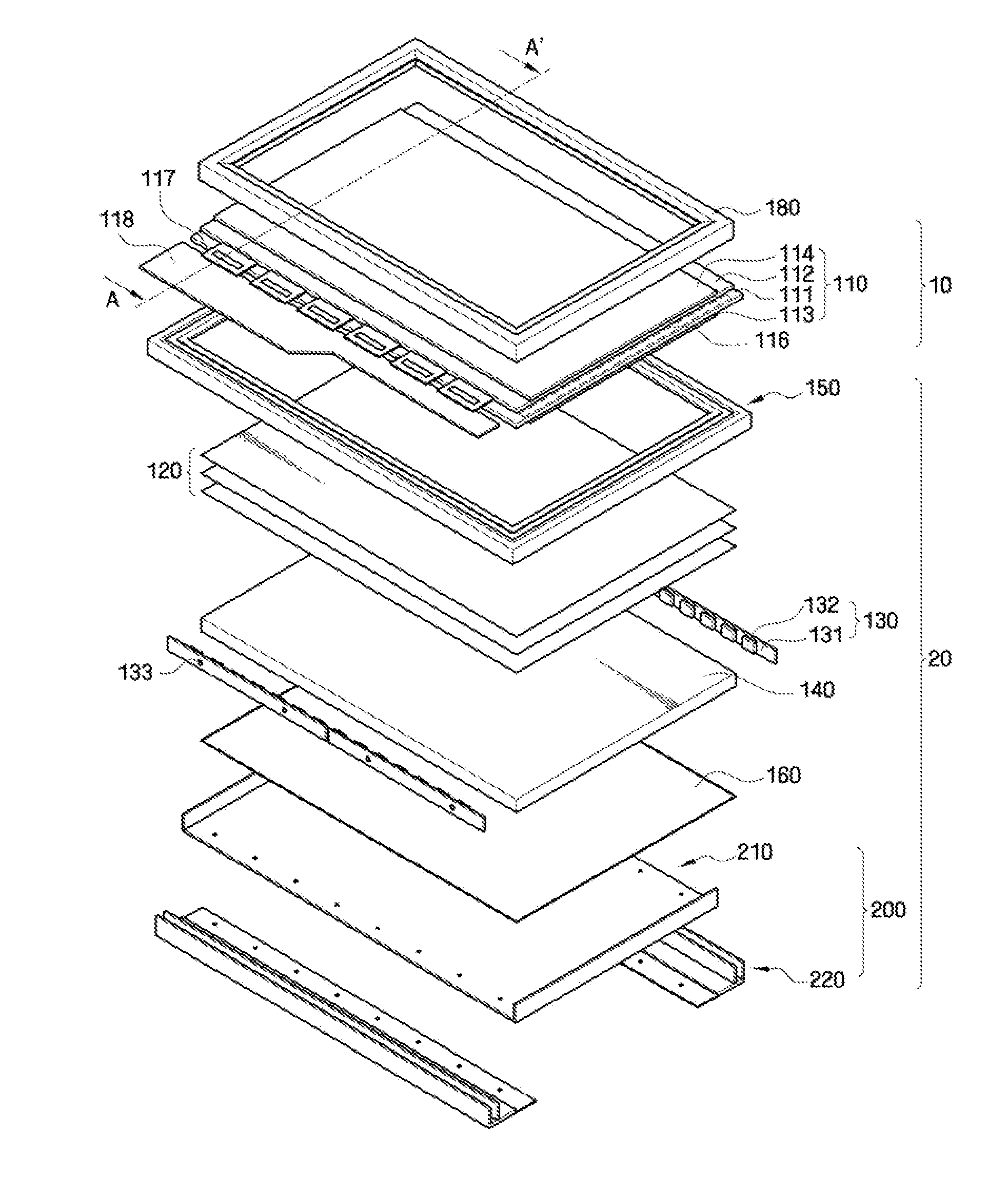
Backlight assembly and liquid crystal display having the same
授权日
1900-01-01
公开(公告)号
US20110090426A1
申请日
2010-10-18
公开(公告)日
2011-04-21
当前申请(专利权)人
SAMSUNG DISPLAY CO., LTD.
发明人
CHOI, JAE-CHANG | CHOI, SEONG-SIK
简单同族
CN102042542A | CN105093680A | CN105093680B | JP2011086627A | JP5599690B2 | KR101698754B1 | KR1020110042574A | US20110090426A1 | US20150370006A1 | US9140849
简单同族成员数量
10
简单同族被引用专利总数
98
诉讼案件数
0
法律状态/事件
授权 | 权利转移
抱歉,您的浏览器不支持PDF预览,请点击链接下载PDF文件