专利数据库
统计分析
产业报告
专利数据监控
产业人才
行业动态
产业政策法规
维权援助
个人中心
详情
文本
图像
标题
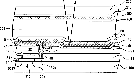
Liquid crystal display apparatus having insulated reflective layer and manufacturing method thereof
授权日
2007-08-21
公开(公告)号
US7259813
申请日
2002-12-27
公开(公告)日
2007-08-21
当前申请(专利权)人
SANYO ELECTRIC CO., LTD.
发明人
ODA, NOBUHIKO | ISHIDA, SATOSHI | YAMADA, TSUTOMU
简单同族
CN100373245C | CN1184524C | CN1432853A | CN1595271A | JP2003202588A | JP3953320B2 | KR100479630B1 | KR100732101B1 | KR1020030057440A | KR1020040097032A | TW200301396A | TW591311B | US20030156240A1 | US20070263167A1 | US7259813 | US7502083
简单同族成员数量
16
简单同族被引用专利总数
84
诉讼案件数
0
法律状态/事件
未缴年费 | 权利转移
抱歉,您的浏览器不支持PDF预览,请点击链接下载PDF文件