专利数据库
统计分析
产业报告
专利数据监控
产业人才
行业动态
产业政策法规
维权援助
个人中心
详情
文本
图像
标题
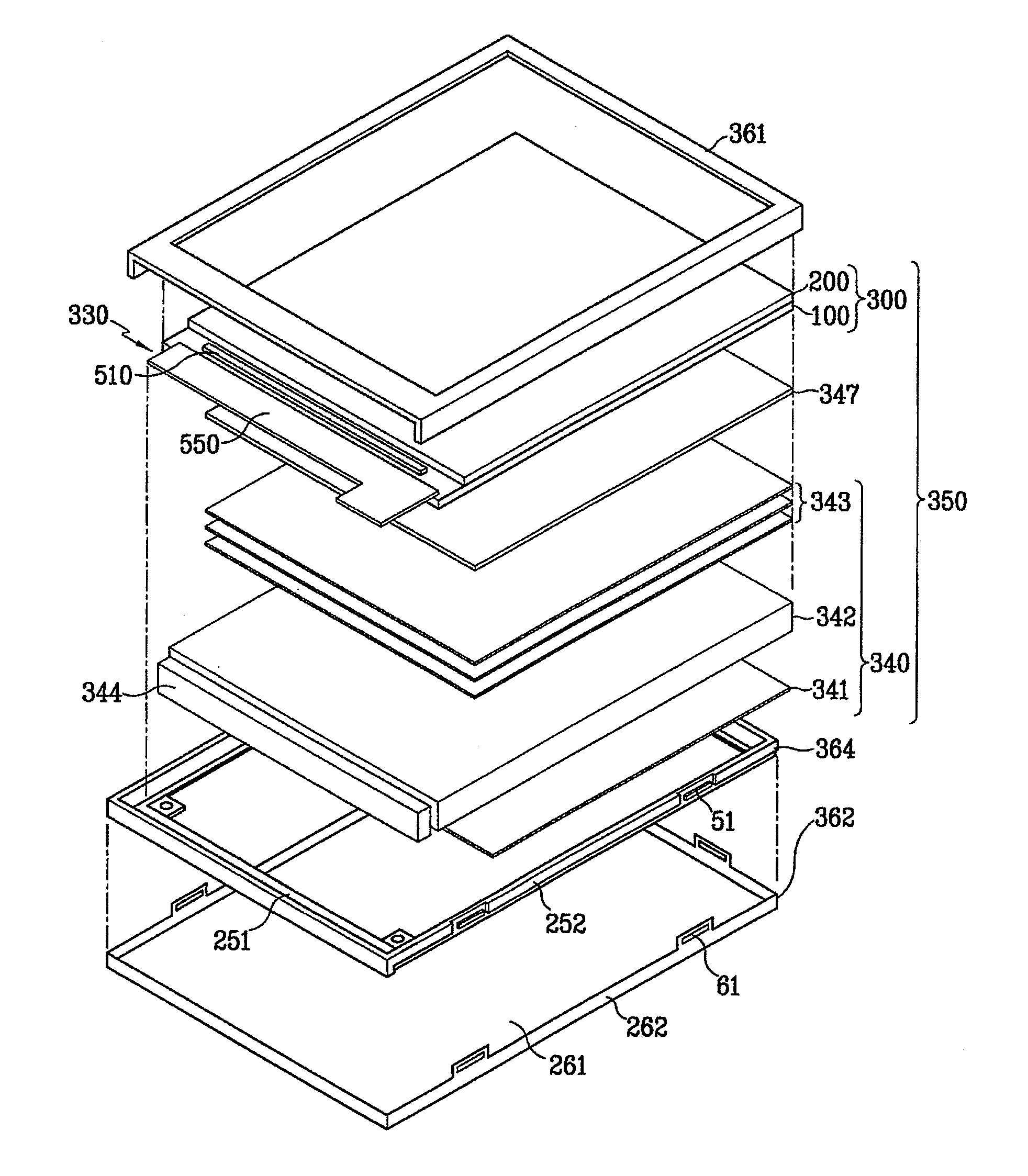
Thin film transistor panel and liquid crystal display using the same
授权日
1900-01-01
公开(公告)号
US20100066655A1
申请日
2009-11-20
公开(公告)日
2010-03-18
当前申请(专利权)人
SAMSUNG DISPLAY CO., LTD.
发明人
UH, KEE-HAN | KIM, HYUNG-GUEL | KIM, SANG-WOO | LEE, SEUNG-KYU | AN, BO-YOUNG | PARK, WON-SANG | KIM, JAE-HYUN | YUN, HAE-YOUNG | LEE, JAE-YOUNG | IRINA, POUNDALEVA | CHA, SUNG-EUN | CHANG, YOUNG-JOO | LIM, JAE-IK | JEONG, KI-HUN
简单同族
EP1672411A2 | EP1672411A3 | JP2006171727A | TW200619792A | TWI386744B | US20060158588A1 | US20100066655A1 | US7633473
简单同族成员数量
8
简单同族被引用专利总数
54
诉讼案件数
0
法律状态/事件
实质审查 | 权利转移
抱歉,您的浏览器不支持PDF预览,请点击链接下载PDF文件