专利数据库
统计分析
产业报告
专利数据监控
产业人才
行业动态
产业政策法规
维权援助
个人中心
详情
文本
图像
标题
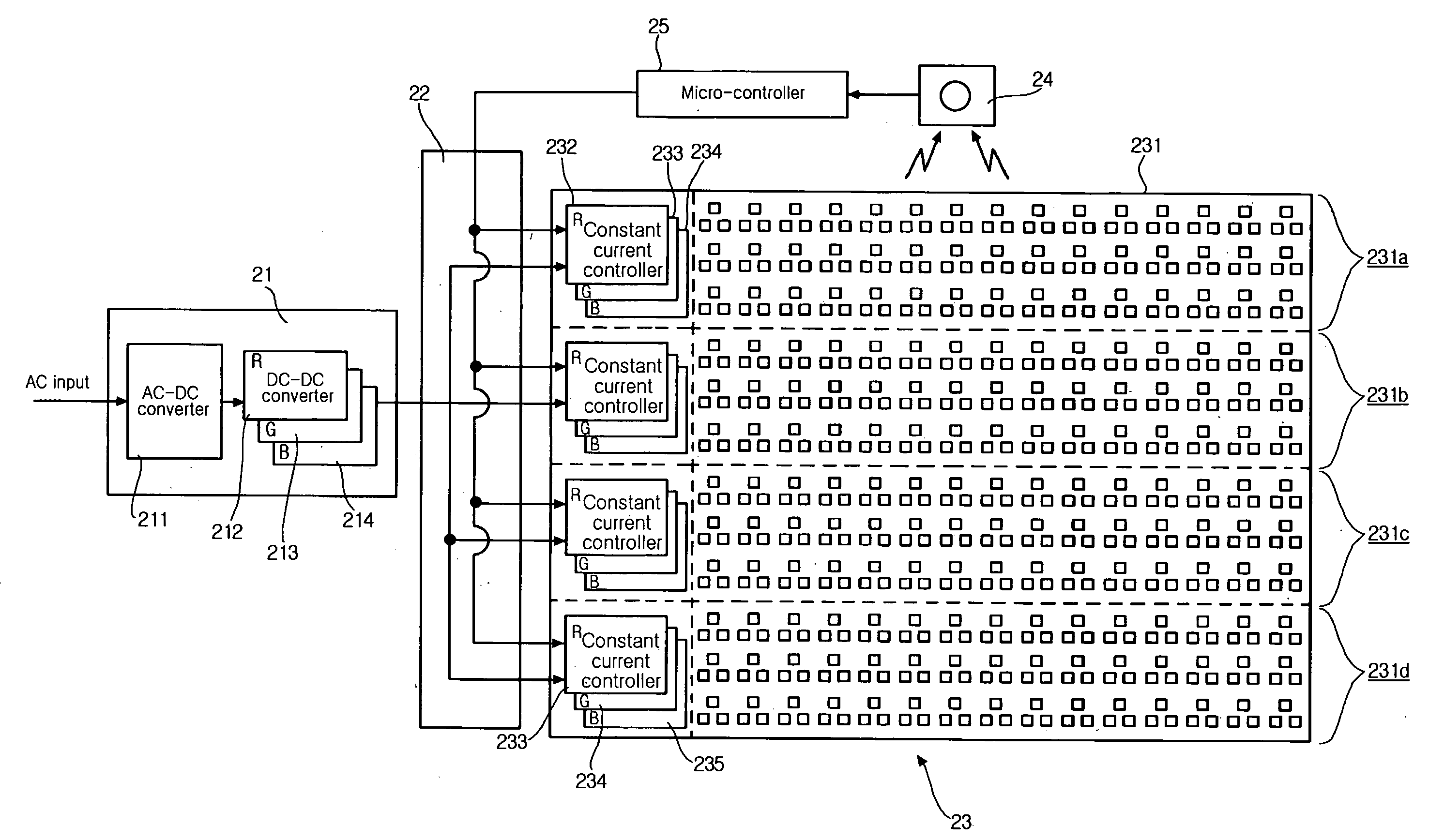
Liquid crystal display backlight driving system with light emitting diodes
授权日
1900-01-01
公开(公告)号
US20080002102A1
申请日
2007-05-30
公开(公告)日
2008-01-03
当前申请(专利权)人
SAMSUNG ELECTRONICS CO., LTD.
发明人
LEE, SANG YUN
简单同族
JP2008009416A | JP4934507B2 | KR100799869B1 | KR1020080001049A | NL2000668A | NL2000668C | TW200809756A | TWI370435B | US20080002102A1 | US8077137
简单同族成员数量
10
简单同族被引用专利总数
54
诉讼案件数
0
法律状态/事件
未缴年费 | 权利转移
抱歉,您的浏览器不支持PDF预览,请点击链接下载PDF文件