专利数据库
统计分析
产业报告
专利数据监控
产业人才
行业动态
产业政策法规
维权援助
个人中心
详情
文本
图像
标题
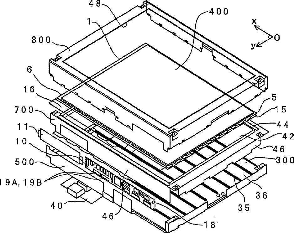
Liquid crystal display
授权日
1900-01-01
公开(公告)号
US20020041268A1
申请日
2001-08-31
公开(公告)日
2002-04-11
当前申请(专利权)人
PANASONIC LIQUID CRYSTAL DISPLAY CO., LTD. | HITACHI DISPLAYS, LTD.
发明人
YAJIMA, TOSHIHIRO | NISHIYAMA, SEIICHI | TAKAKU, SHIGETAKE | NOGUCHI, SHOICHI | TAKEDA, YOSHIHARU
简单同族
JP2002072205A | JP2002072205A5 | KR100618095B1 | KR1020020018969A | TWI247931B | US20020041268A1 | US7061465
简单同族成员数量
7
简单同族被引用专利总数
53
诉讼案件数
0
法律状态/事件
未缴年费 | 权利转移
抱歉,您的浏览器不支持PDF预览,请点击链接下载PDF文件