专利数据库
统计分析
产业报告
专利数据监控
产业人才
行业动态
产业政策法规
维权援助
个人中心
详情
文本
图像
标题
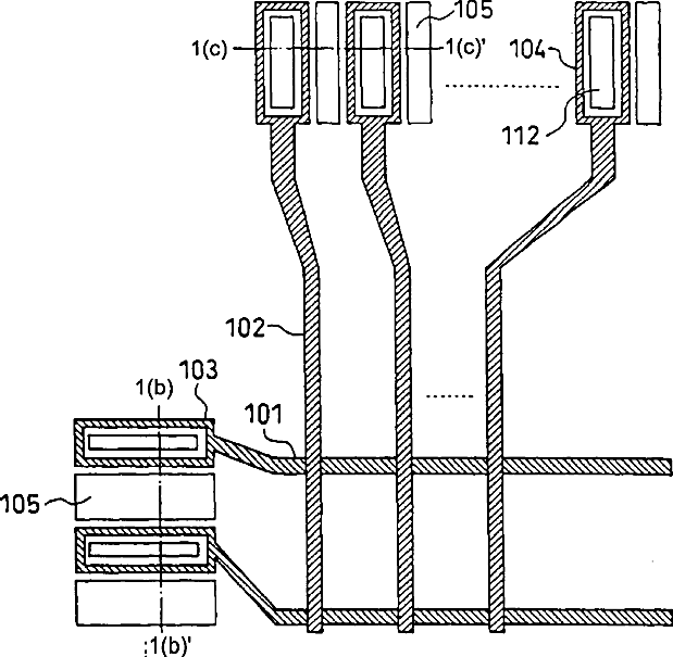
Active matrix liquid-crystal display device having improved terminal connections
授权日
2002-04-02
公开(公告)号
US6366331
申请日
2000-01-28
公开(公告)日
2002-04-02
当前申请(专利权)人
GOLD CHARM LIMITED
发明人
SAKAMOTO, MICHIAKI | SUGITANI, CHOEI
简单同族
JP2000221540A | JP3139549B2 | KR100352566B1 | KR1020000057830A | TW584778B | US20020067452A1 | US6366331 | US6608663
简单同族成员数量
8
简单同族被引用专利总数
99
诉讼案件数
0
法律状态/事件
期限届满 | 权利转移
抱歉,您的浏览器不支持PDF预览,请点击链接下载PDF文件