专利数据库
统计分析
产业报告
专利数据监控
产业人才
行业动态
产业政策法规
维权援助
个人中心
详情
文本
图像
标题
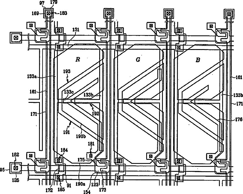
Thin film transistor array panel
授权日
1900-01-01
公开(公告)号
US20050030439A1
申请日
2004-08-03
公开(公告)日
2005-02-10
当前申请(专利权)人
SAMSUNG DISPLAY CO., LTD.
发明人
LYU, JAE-JIN
简单同族
CN100430805C | CN1580922A | JP2005055896A | JP4707980B2 | KR100980016B1 | KR1020050016834A | TW200532920A | TWI354375B | US20050030439A1 | US20060274219A1 | US7113233 | US7339634
简单同族成员数量
12
简单同族被引用专利总数
131
诉讼案件数
0
法律状态/事件
未缴年费 | 权利转移
抱歉,您的浏览器不支持PDF预览,请点击链接下载PDF文件