专利数据库
统计分析
产业报告
专利数据监控
产业人才
行业动态
产业政策法规
维权援助
个人中心
详情
文本
图像
标题
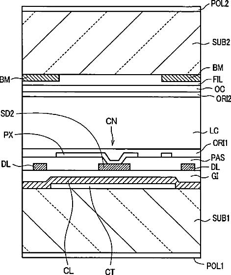
Liquid crystal display device
授权日
2008-04-01
公开(公告)号
US7352425
申请日
2004-11-19
公开(公告)日
2008-04-01
当前申请(专利权)人
PANASONIC LIQUID CRYSTAL DISPLAY CO., LTD.
发明人
ONO, KIKUO | MORI, IKUKO | OKE, RYUTARO | YARITA, HIROYUKI
简单同族
CN100395641C | CN1619394A | JP2005148602A | JP4326307B2 | US20050105034A1 | US20080170194A1 | US20090135362A1 | US7352425 | US7486345 | US7612855
简单同族成员数量
10
简单同族被引用专利总数
97
诉讼案件数
0
法律状态/事件
授权 | 权利转移
抱歉,您的浏览器不支持PDF预览,请点击链接下载PDF文件