专利数据库
统计分析
产业报告
专利数据监控
产业人才
行业动态
产业政策法规
维权援助
个人中心
详情
文本
图像
标题
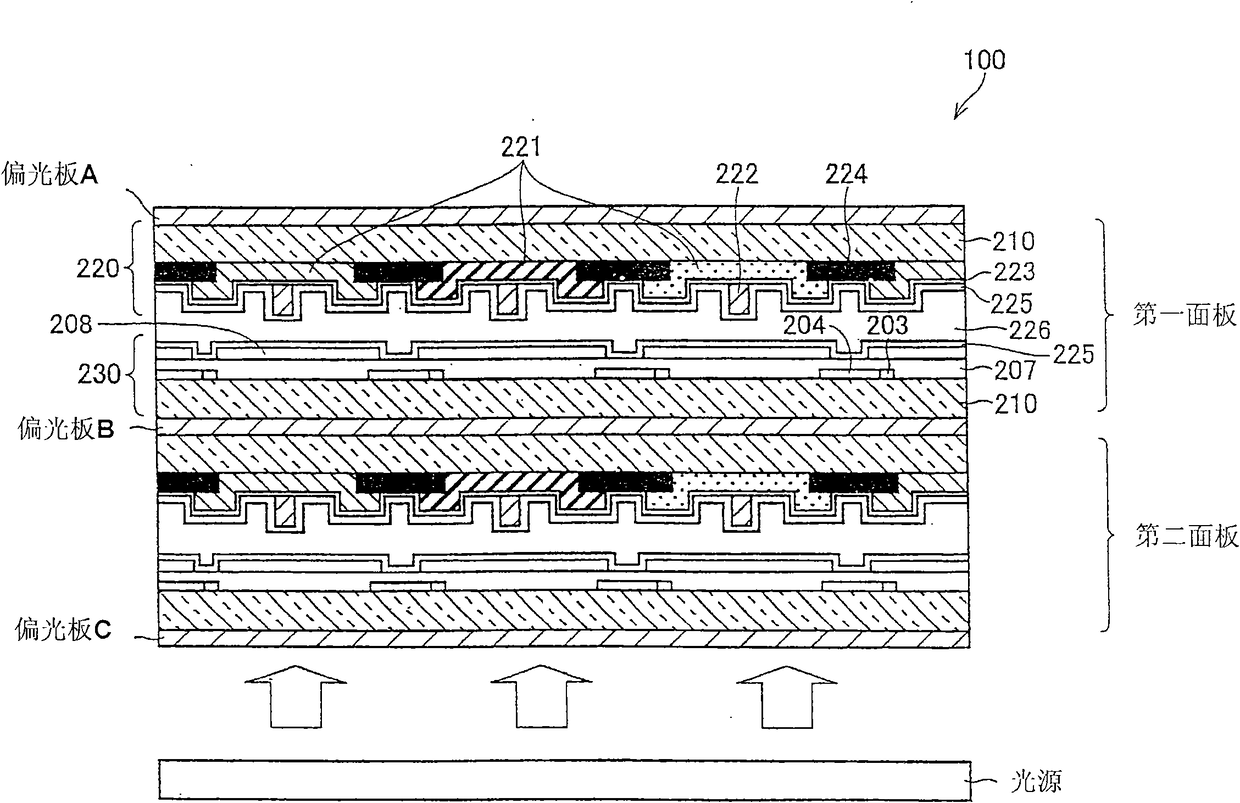
液晶显示装置和电视接收机
授权日
2011-07-27
公开(公告)号
CN101263417B
申请日
2006-09-27
公开(公告)日
2011-07-27
当前申请(专利权)人
夏普株式会社
发明人
中井信彦 | 平田贡祥 | 繁田光浩 | 山田直 | 津幡俊英 | 水嶋繁光 | 鹰田良树 | 片上正幸 | 盐见诚
简单同族
CN101263417A | CN101263417B | CN102213876A | JP2011076107A | JP4878032B2 | JPWO2007040127A1 | US20090147186A1 | US20110261268A1 | US8009248 | WO2007040127A1
简单同族成员数量
10
简单同族被引用专利总数
194
诉讼案件数
0
法律状态/事件
未缴年费
抱歉,您的浏览器不支持PDF预览,请点击链接下载PDF文件