专利数据库
统计分析
产业报告
专利数据监控
产业人才
行业动态
产业政策法规
维权援助
个人中心
详情
文本
图像
标题
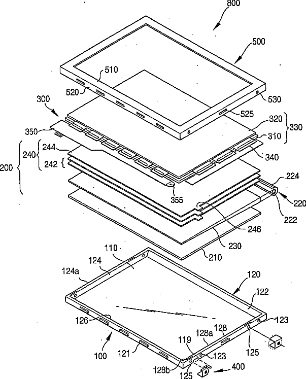
Liquid crystal display module and liquid crystal display apparatus having the same
授权日
1900-01-01
公开(公告)号
US20080049163A1
申请日
2007-10-31
公开(公告)日
2008-02-28
当前申请(专利权)人
SAMSUNG ELECTRONICS CO., LTD.
发明人
LEE, SANG-DUK
简单同族
CN100383619C | CN1467543A | JP2004021257A | JP4383771B2 | KR100863998B1 | KR1020030097061A | TW200400379A | TWI323361B | US20030234894A1 | US20050231659A1 | US20080049163A1 | US6930734 | US7301590
简单同族成员数量
13
简单同族被引用专利总数
113
诉讼案件数
0
法律状态/事件
撤回
抱歉,您的浏览器不支持PDF预览,请点击链接下载PDF文件