专利数据库
统计分析
产业报告
专利数据监控
产业人才
行业动态
产业政策法规
维权援助
个人中心
详情
文本
图像
标题
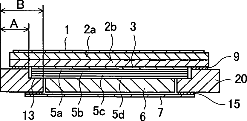
Liquid crystal display device
授权日
1900-01-01
公开(公告)号
US20070132909A1
申请日
2006-11-15
公开(公告)日
2007-06-14
当前申请(专利权)人
HITACHI DISPLAYS, LTD.
发明人
OOHIRA, EIJI
简单同族
CN100449370C | CN101435954A | CN101435954B | CN1979279A | JP2007163556A | JP2007163556A5 | KR100908664B1 | KR1020070061449A | TW200732757A | TWI378295B | US20070132909A1 | US20100020261A1
简单同族成员数量
12
简单同族被引用专利总数
80
诉讼案件数
0
法律状态/事件
撤回 | 权利转移
抱歉,您的浏览器不支持PDF预览,请点击链接下载PDF文件